Ersatzteil Wahl:
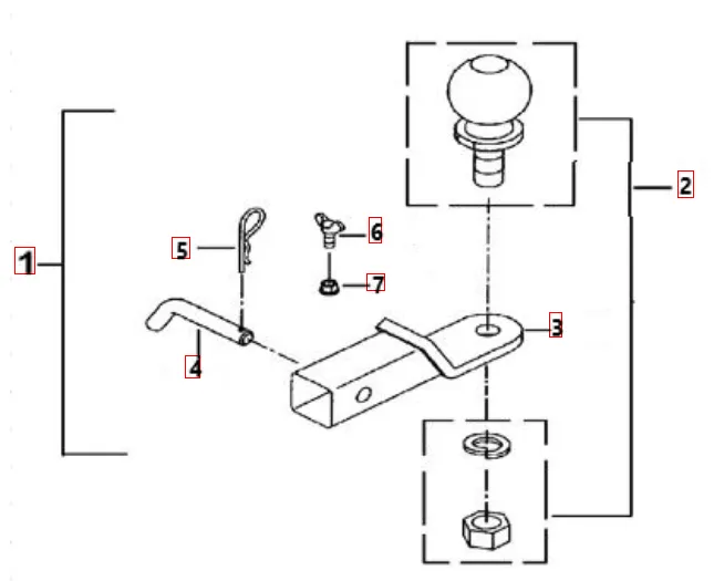
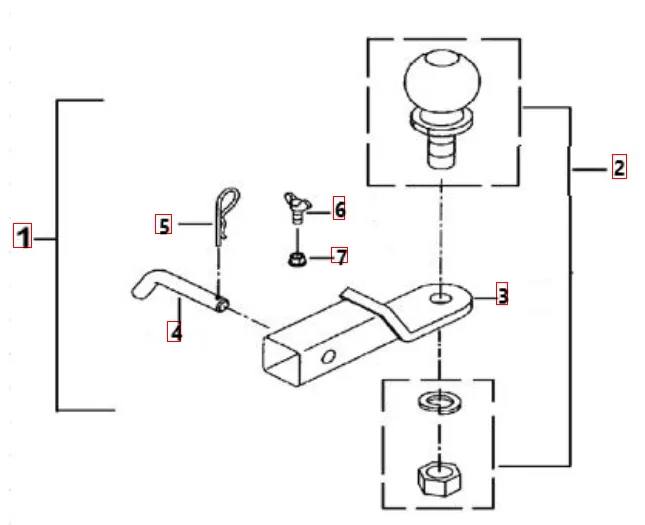
Ansaugstutzen Top case 135l Hitzeschutz f. Kraftstofftanktank Scheinwerfer Bremsanlage hinten Frontmaske Differential vorne Anhängekupplung Elektrik 1 Lichtmaschine-Anlasser Servomotor Differential hinten Rahmen 1 Heckverkleidung Bremsanlage vorne Motorgehäuse links Tachometer Kabelbaum Elektrik 2 Getriebe 1 Rücklicht EPS Motorgehäuse rechts Aufkleber 1 Zylinderkopf Auspuff Vorderradbremse Kurbelwelle Motorgehäuse Lenksäule-Spurstange Fusstütze-Tankabdeckung































